琴行小程序预约核销
2018-08-15
小程序
目录
琴行小程序预约核销
使用前提
1、软件版本:新版云后台行业选择琴行
2、硬件要求:无
3、购买产品:银豹小程序,银豹琴行专业版软件,银豹营销通
4、功能开通:预约小程序,CRM小程序,琴行专业版软件,营销通
操作流程
- 商家端
1.新增服务商品
登陆云后台,选择【商品-商品资料-新增一个服务商品】,填入商品基本信息后,一定要为商品添加一个【预约项目】的标签,保存;
2.新增次卡
点击【营销-卡券管理-次卡-新增次卡】,填入次卡名称、可用次数、售价等基本信息后,要开启是否在线上销售,保存;
3.新增教师
点击【员工-教师资料-新增教师】,填入教师的编号、姓名和手机号后保存,并开通该教师的营销通CRM功能;
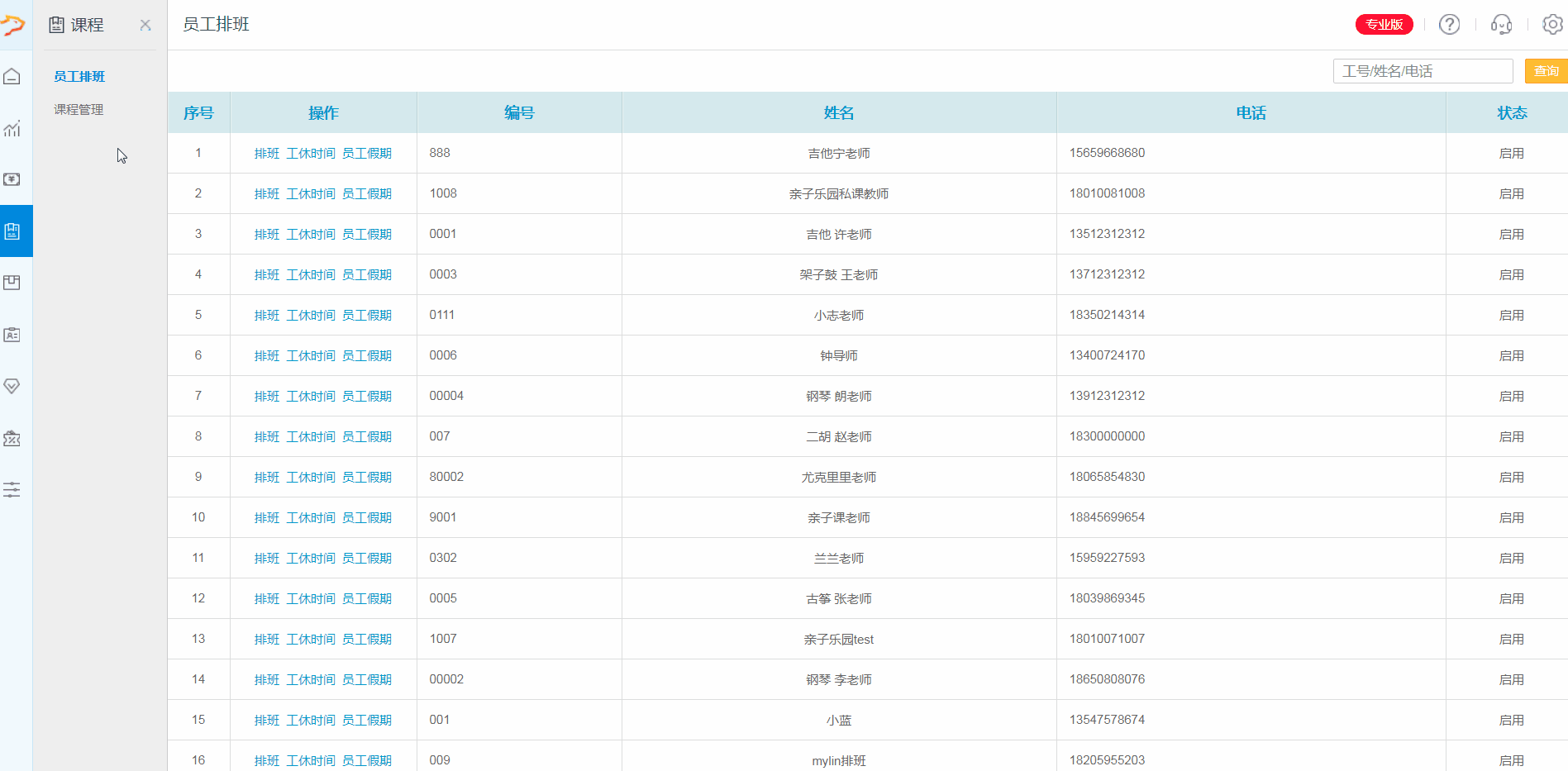
4.员工排班
点击【课程-员工排班】,找到兰兰老师后点击排班,选择相应课程,再点击工休时间,根据实际情况设定老师的工作和休息时间后保存;
5.课程管理
点击【课程-课程管理】,找到相应课程,点击新增排课,选择服务人员,填入人数上限和课程次数(课程次数=次卡次数),课程类型要选择私有(目前预约小程序核销只对接成功私教课,公开课待上线),课程周期要排除教师的休息时间。
- 课程表
课程安排结束后可以点击【课程表】查看选择时间内全部的课程安排
6.核销(体验请小程序搜索银豹CRM)
以上云端的课程设置步骤就结束了,待顾客在小程序上购买课程后,到店出示核销码,教师打开CRM小程序,扫描核销码即可。
用云后台账号+教师手机号+短信验证码登陆
- 客户端
体验小程序:银豹琴行演示
1.点开商家预约小程序,购买相应课程;
2.购买后回到首页,点击我的课程即可查看到所有购买的课程,选择相应课程点击去预约,预约成功后会弹出课程核销码。上课时核销即可。








